|
HWH Jacks will not retract
|
|
09-17-2015, 14:54
Post: #11
|
|||
|
|||
|
RE: HWH Jacks will not retract
Thanks, that didn't help so I bled through a fitting on a hose connected to the manifold. I was able to get the 4th jack up and the control now reads "Travel". I then refilled the reservoir to the line to replace the lost fluid.
I cycled the bus through 2 raise/dump cycles, waited for it to settle completely on the bump stops and tried the HWH leveling system. It powers the unit up, but just makes a slight squealing noise but does not move the jacks. Maybe related: On the LED readout box, all of the "LOCKED" lights are on when it is attempting to level. The squealing noise, I assume, is the pump trying to move oil but valves are closed. Any ideas? |
|||
|
09-17-2015, 15:57
(This post was last modified: 09-17-2015 16:04 by cmillsap.)
Post: #12
|
|||
|
|||
|
RE: HWH Jacks will not retract
Marty,
Did you put the t-handle valves back in the proper operational position? Also if you have to crawl under the bus for anything, please make sure the bus is supported with proper jack stands or blocking that will hold the weight of the bus off you in case it comes down. We want to keep you safe...... Chuck & Tela Millsap 2003 Prevost Marathon XLII 2000 LXi #2 S/S (Sold) 2004 M380 D/S (Sold) 2000 LXi #1 N/S (Sold |
|||
|
09-17-2015, 18:20
(This post was last modified: 09-17-2015 18:21 by davidbrady.)
Post: #13
|
|||
|
|||
|
RE: HWH Jacks will not retract
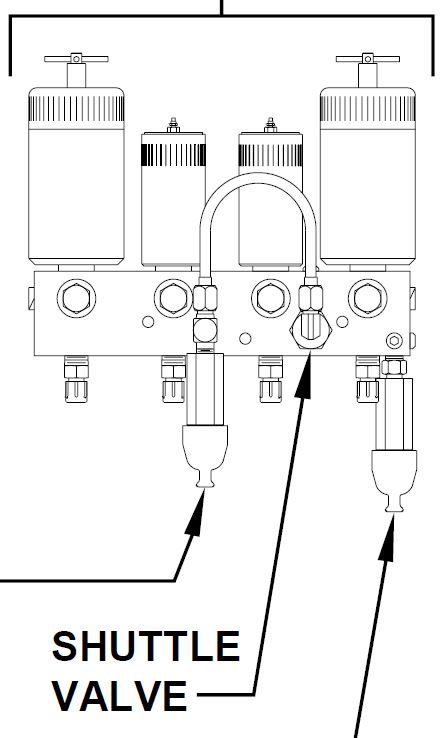
It seems odd that all four solenoid valves would fail simultaneously. The only other valve that's common to all four jacks is the Pressure/Return Shuttle Valve as shown here:
I guess I could piece together a scenario to explain the failure. If you had the air suspension raised and you deployed the jacks to the extent of illuminating the excessive slope led, and if the fluid level in the reservoir were already low, maybe you sucked some debris in from the reservoir bottom and the shuttle valve clogged and malfunctioned. I know, lots of guessing. I'll see if I can dig up a part number for the shuttle valve or maybe it can be removed and cleaned. Remember when you check the fluid level in the reservoir all the jacks and the slide need to be retracted. I think you've already gotten the hint to lower your suspension before deploying the jacks. The reverse is true too: air up your suspension before retracting your jacks. This prevents the bus from dropping onto it's bump stops as the fluid is pushed out of the jacks. david brady, '02 Wanderlodge LXi 'Smokey' (Sold), '04 Prevost H3 Vantare 'SpongeBob' "I don't like being wrong, but I really hate being right" |
|||
|
09-17-2015, 20:18
(This post was last modified: 09-17-2015 20:42 by davidbrady.)
Post: #14
|
|||
|
|||
|
RE: HWH Jacks will not retract
Marty,
The shuttle valve is part number: RAP7964 and the price should be around $54.00. If you look at the HWH manifold with the solenoid valves, the shuttle valve is at the top and looks like a hex head. I'll dig up a pic. A little more on the shuttle valve: The shuttle valve is located on the leveling system hydraulic manifold. (See MANIFOLD HYDRAULIC) Fluid flows from the pump to the manifold, through a fitting on top of the manifold, through a U shaped tube to a fitting on top of the shuttle valve, then into the manifold to extend the jacks. The fluid flows from the manifold through the shuttle valve back to the pump when retracting the jacks. The shuttle valve is a hydraulically actuated valve. When the pump is running, the shuttle valve shifts to allow the the fluid into the manifold. At the same time, the shuttle valve closes the path for fluid return to the pump. It takes approximately 800 p.s.i. to shift the shuttle valve. When the pump shuts off, the shuttle valve should shift back to the off position. This will allow fluid to flow from the manifold to the pump when the jacks are retracted. The shuttle valve is a replaceable part. david brady, '02 Wanderlodge LXi 'Smokey' (Sold), '04 Prevost H3 Vantare 'SpongeBob' "I don't like being wrong, but I really hate being right" |
|||
|
09-18-2015, 10:14
Post: #15
|
|||
|
|||
|
RE: HWH Jacks will not retract
I was in Arkansas on a Sat. morning, no jack would retract. On advise from a local RV tech I could get on the phone, he suggested a couple of wacks on the shuttle valve with a large screwdriver. It worked and I was on my way.
Charlie Vaughn 1999 LXi |
|||
|
09-18-2015, 11:08
Post: #16
|
|||
|
|||
|
RE: HWH Jacks will not retract
Did you do those whacks when the unit was trying to retract (retract light on) or when the unit had no power to it? I assume the unit has to be attempting to do something, whether lowering or raising the jacks, in order for the shuttle to want to move?
|
|||
|
09-18-2015, 12:45
Post: #17
|
|||
|
|||
|
RE: HWH Jacks will not retract
As I've mentioned, I have the jacks up in the travel position now. I am still getting the Excess Slope light so I thought I would clean the shuttle valve. That all came apart very easily and i was able to completely disassemble the valve, clean with Brake Cleaner and compressed air, and reinstall.
Still getting the Excess Slope light. I am wondering if a complete system reboot would clear any issues remaining and allow me to start from scratch. Are there pre-programmed positions coded into the system (maybe slide room position) that would be lost if I did a system shutdown and restart or are these all position/switch driven? Does anyone know where I can find a master power supply cable for the HWH control system so i can power down and restart? |
|||
|
09-18-2015, 13:12
Post: #18
|
|||
|
|||
|
RE: HWH Jacks will not retract
I would reset the HWH by cutting all the power on the coach including the chassis batteries. Throw your CB on the generator so it doesn't start, unplug from shore, turn off the inverters at the RC7 and at the inverters themselves, turn the house battery disconnect switch to off, and disconnect the chassis battery negative cable. Put everything back in reverse order. There's no user programming of the HWH systems. Everything is driven by limit switches.
david brady, '02 Wanderlodge LXi 'Smokey' (Sold), '04 Prevost H3 Vantare 'SpongeBob' "I don't like being wrong, but I really hate being right" |
|||
|
09-25-2015, 23:34
Post: #19
|
|||
|
|||
|
RE: HWH Jacks will not retract
So, after a whole lotta really intense troubleshooting, I found a problem with power going to the main I/O board that supplies 12v to the HWH system. That was found to be the culprit, not supplying power to open solenoids thus not letting fluid flow. Really strange and deep problem. All is good now, and everything works good as new.
Thanks to everyone for their input and assistance. The problem was caused by me, not letting the system rest between cycling between the attempts to lower and raise the jacks. Take time between cycles, give the solenoids a chance to cool and recover. My anxiety to show my family this beautiful new coach was the leading cause in the power failure. I hope someone reads this before suffering the consequences of my errors. Time to move to the next items needing attention, which aren't many, but there are a few. Thanks again for all the input..... |
|||
|
09-26-2015, 01:34
(This post was last modified: 09-26-2015 01:35 by GregOConnor.)
Post: #20
|
|||
|
|||
|
RE: HWH Jacks will not retract
If issue returns, clean the connections of the wires at the valve manifolds (I had a gremlin that cleared up with that assumed fix). also one of the pair/front and one of the pair/rear are grounded at the pump ground bus. so if it was loss of voltage at the jack that truly caused the issue, the ground is always 50% of voltage. the pump area is a dirty place and dirt causes some issues if that pump and area is clean clean clean like I suspect it was, your PO (previous owner) was pressure washer freak ( a good thing if you like clean) so look for water dried up in connections and rust under grounds.
http://www.hwhcorp.com/mp88101.pdf Gregory O'Connor 2001 LXi43ss Romoland California 92585 951-830-5997 Rainbowrv.com |
|||
|
« Next Oldest | Next Newest »
|
User(s) browsing this thread: 1 Guest(s)

Link Directory
Wanderlodge Trader
Document Library
Calendar





![[+]](http://www.wanderlodgegurus.com/images/collapse_collapsed.gif)